您的位置: 首页 > 业务布局 >> 交通业务 >>> 典型案例
智能运维管理平台
发布时间:2021/9/6 13:41:08 阅读:12890

地铁智能运维系统技术方案


地铁集团根据“品质地铁、智慧地铁、文化地铁”的发展理念,开启智慧地铁建设征程,根据地铁运营公司探索智能化维保新模式的工作要求,AFC专业结合设备维保生产实际和发展需要,积极推进设备智能运维项目研究及落地。

一、智能运维目标

AFC专业智能运维项目的目标是实现日常检修工作的自动 化和智能化。减少重复工作,使用在线监视取代人工巡检,减少 人工巡检的时间消耗。通过利用物联网(IOT)技术、大数据、人工智能(AI)技术, 引入TnPM(全面规范化生产维护)提高设备的维护维修水平和工作效率。深入挖掘辅助决策数据需求,规范管理运维信息资源数据,统一构建设备管理保障业务,接入现有核心设备数据,实现IOT管理和设备监控,基于人工智能的设备健康预测,设备故障及维修知识推送,为实现智能化设备运维迈出坚实的一步。

二、智能运维系统架构

(一)系统网络架构

1.智能运维系统组网分为线网级和车站级两级架构,网络架构如下图:

 0.png

图1 AFC智能运维系统架构示意图

2.网络架构说明

(1)智能运维系统车站数据采集由既有的车站AFC系统完成,ACC/MLC系统数据采集由既有的ACC/MLC监测平台获取。

(2)智能运维系统部署在企管网生产辅助域,ACC/MLC系统 及车站AFC系统在生产网,采集数据单向由ACC/MLC传输至智能运维系统。

(3)智能运维系统所需服务器、数据库、存储等资源由云平台提供,线路和车站不再设置服务器。

(4)用户可用既有的办公电脑或系统提供的手机APP与智能运维系统交互。

(5)智能运维系统通过与维修维护系统的接口实现生产信息化。

(6)智能运维系统通过与通信智能运维系统和ISCS智能运维系统的接口获取站厅和综合监控设备室的视频数据。

(7)ACC/MLC监控工作站和智能运维系统监视工作站区别如 表1所示


解决方案

设备智能运维系统涵盖了设备运维的一整套业务流程,对人员、设备、备件及这三者之间的业务流转进行了全方位的管理。

另外,此系统在传统的设备运维系统的基础上增添了IOT物联网模块,在IOT物联网模块中可以实现设备的预测性维护、设备的故障诊断、设备的健康度管理等更智能化的功能。从而减少人工现场点巡检、还可帮助企业管理者做出决策分析。

1.1 平台部署

根据客户需求可以快速的部署平台,既支持私有化部署也支持云端部署,模块化管理,通过简单的拖拽配置就能完成项目的部署与应用。

 1.png

1.2 设备资产管理

设备资产管理是整个系统的基础之一,各种业务的流转都在设备资产的基础之上。系统可以支持层级模式结构、卡片模式、三维模式的展现方式。设备资产支持导入导出、搜索查找、删除、新增、编辑、修改等功能。

1.2.1 层级模式展示设备

以层级的模式展示设备,设备名称、编号、规格等属性信息一目了然。

支持拖动改变层级结构。

1.2.2 卡片模式展示设备

在卡片模式下,可以自定义设备的属性信息。

此模式关联设备的属性、工单、维修计划、备件、日志、IOT数据以及设备分析报告。设备的属性信息可以自定义,可根据需求随意增删。

1.2.3 三维模式展示设备

以三维可视化方式展示设备分布,设备的运行状态信息。当设备出现故障时,点击故障设备可快速定位到该设备位置。

 2.png

1.3 设备IOT管理及分析

1.3.1 设备数据采集 

地铁现场需要采集的设备数据包括35kV开关柜、1500V直流柜、0.4kV开关柜、整流器、变压器等设备的运行数据,一种是通过采集网关对设备数据进行采集,另一种通过巡检机器人对仪表盘数据进行采集,采集网关与HawkEye平台通过标准物联网协议MQTT进行数据的传输,巡检机器人通过软件接口与HawkEye平台进行数据交互。

1.3.2 设备数据展示

实时监控设备的状态数据以及重要参数指标,可以根据客户需求配置多种多样的数据展现方式。

 3.png

 4.png

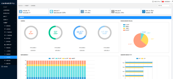
1.3.3 数据统计分析管理

通过系统数据自动汇总和分析设备绩效(MTBF、MTTR、设备停机时长等)、人员绩效、工单质量及备品备件消耗等关键指标,帮助管理者直观掌握工作现状,快速做出管理决策。

 5.png

1.3.4 设备健康度评估与预测

通过设备运行数据,结合业务分析模型及人工智能模型,对设备的运行状态进行打分及预测,完成设备状态从传统的“定性评估”到“定量评估”的转变。

6.png

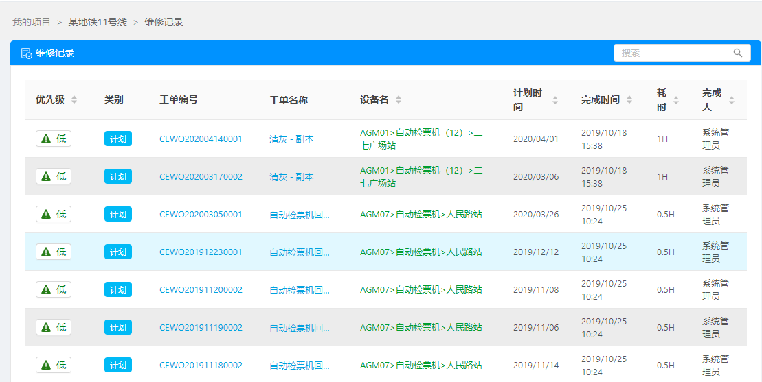
1.4 设备故障维修管理

设备发生故障后,由相关人员填写设备报修工单。目前支持手动在平台填报、扫描设备二维码填报、关联IOT采集数据超出阈值自动生成工单。维修方式可以自定义是自修,还是委外。对所有已经完成的工单进行信息的记录。在平台中可以按需查找到所有的维修记录。

 7.png

1.5 设备维修计划管理

根据保养计划,自定义保养日程安排;以列表和日历视图的方式展示每天的任务。维修保养计划可以转化成工单。设备的运行时长可以由设备的启停信号计算得来,在设备运行到设定时常之后,系统自动推送提醒设备需要保养,同时将信息推送给相关的班组或个人。

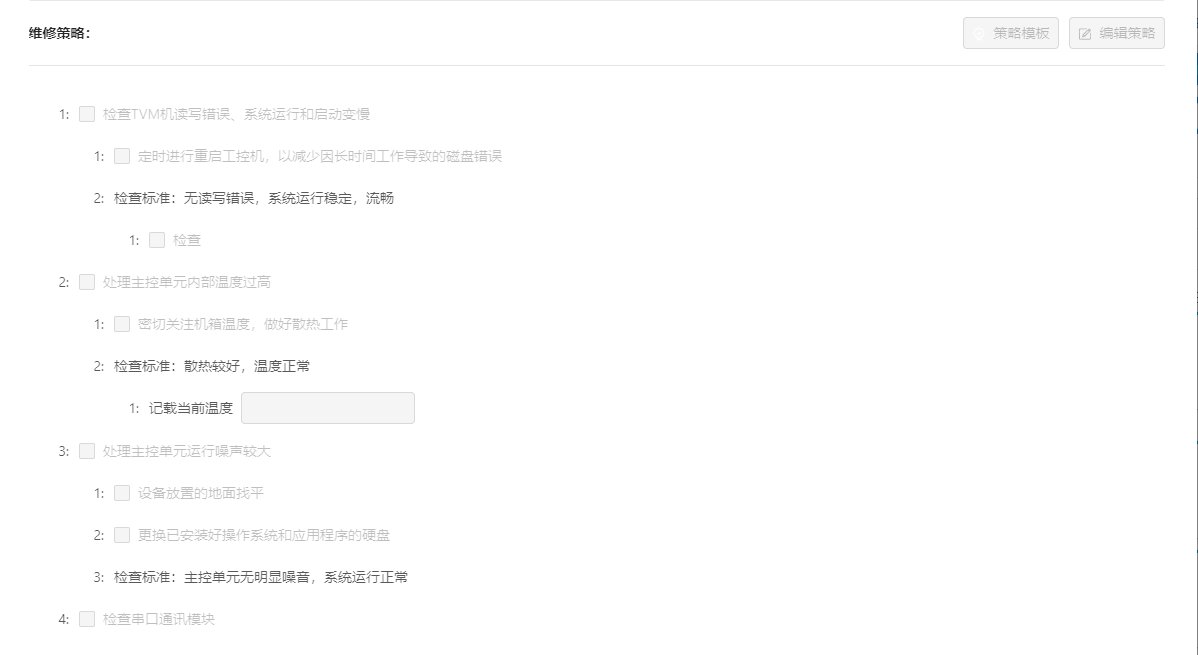
1.6 设备维修知识库管理

某些设备的维护或维修是依据固定模式的,将这种固定的维护和维修经验形成一种策略模板。运维人员再次维护或维修时,可以按照策略直接执行。将维修经验、维护保养经验编辑为固定的模板,形成维保策略,在设备维修过程中可以根据设备的故障现象和故障部位确定故障码进而关联到维修方案,降低维修人员对维修经验的依赖程度,节省时间、提高工作效率。

 8.png

1.7 备品备件管理

备品备件管理是设备运维保障的一项重要工作,对于客户来讲,需要的是合理准确的库存结构和库存零件,能够及时满足客户的需求,该功能模块基本满足日常的备件管理需求。备件还可以设置阈值高低限,超出之后会自动报警并推送给相关人员。目前系统具备库存管理、出入库管理、报废管理、回收管理、采购申请等功能。

1.8 BIM应用

平台系统依托先进的三维可视化技术,可以和智能运维管理系统想结合,通过可视化方式展示地铁设备的布局、位置、分布等。并且对运维环境的楼层、室内、设备的逐级可视。电缆隧道/夹层,变电所结构,渗漏水等土建情况也能一目了然。

 9.png

1.9 巡检管理

通过巡检机器人对变电站内的仪表盘拍照,并结合AI技术对图像进行分析,实现数据的采集,可以在平台中设置机器人巡检的频率、巡检的路线、还可以定义多个关键预置位,巡检机器人可以与维保平台相结合,监测数据超出阈值自动报警并能触发工单。

采用基于深度学习的神经网络模型,对视频和图像进行目标检测和识别。开发时,选用云平台开发算法模型,对视频及图像数据进行解码,数据标注,模型定义,模型训练,模型发布。部署时,调用已训练好的算法模型,对仪表盘数据进行检测和识别。

 10.png

1.10 移动应用

通过终端对二维码扫描,利用拍照、录像、智能语音快速报修;

用户关联、分派智能任务分发,再也不会遗忘工作;

工单过程消息自动推送,维修进展一目了然 ;

维修保养完成后自动输出统计分析结果。

11.png